Есть: звуковая карта с микросхемой серии Yamaha XG YMF7xx, у которой не распаяны детали для подключения SB-Link.
Требуется: подобрать и припаять недостающие детали.
Подопытный - безымянная плата неизвестного производителя.
![]()
![]()
![]()
На карте установлена микросхема Yamaha XG YMF724F-V.
![]()
В техническом описании Yamaha YMF724F (DS-1) [1] на странице 3 показана схема контактов микросхемы YMF724F-V. Контакты 92 SERIRQ#, 93 PCGNT#, 94 PCREQ# соответствуют по назначению контактам разъема SB-Link.
![]()
На следующей странице дано описание контактов:
SERIRQ#, IO, Ptr (Tri-State TTL), Serialized IRQ;
PCGNT#, I, Ptr (Tri-State TTL), PC/PCI Grant;
PCREQ#, O, Ptr (Tri-State TTL), PC/PCI Request.
Здесь:
I - Input, через контакт принимаются внешние сигналы;
O - Output, через контакт передаются внутренние сигналы;
IO - двунаправленный порт;
Tri-State TTL - транзисторно-транзисторная логика [2] с тремя состояниями - логический 0, логическая 1 и неопределенное состояние с большим импедансом (комплексным сопротивлением) [3].
На страницах 42...45 приведены следующие параметры
Power Supply Voltage 1 (PVDD, VDD5) (напряжение питания):
предельные значения от -0.5 до 7.0 В;
рабочие значения от 4,75 до 5,25 В;
номинальное значение 5 В.
High Level Input Voltage 1 (напряжение, соответствующее логической единице на входе*) VIH1 от 2.2 до VDD5+0.5 В
Input Leakage Current IIL (ток, проходящий через входные контакты) при условии 0<VIN<VDD5 от -10 до 10 мА
* Applicable to all PCI Iuput/Output pins and Iunput pins except PCICLK and RST# pin.
Input Pin Capacitance CIN (емкость входного контакта) от 5 до 15 пФ.
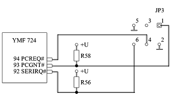
Дорожки от контактов 92, 93 и 94 уходят к площадке, отмеченной JP3. На этой площадке должен быть разъем SB-Link. Попутно дорожки захватывают контакты резисторов R56 (SERIRQ#) и 58 (PCGNT#). Вторые контакты резисторов подключены к среднему контакту (2, коллектор) транзистора D882 [4]. Во включенном состоянии между коллектором D882 и точкой заземления (например, корпусом кварцевого резонатора X1) тестер показывает напряжение 4,67 В.
![]()
![]()
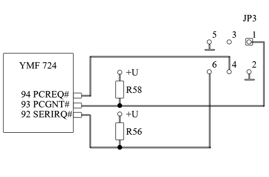
Схема разводки SP-Link на плате выглядит так:
![]()
Резисторы R56 и 58 являются подтягивающими [5].
Сопротивление подтягивающего резистора ограничено снизу максимальным допустимым током через него, который равен максимально допустимому току входного контакта IIL_max=10мА=0.01 А. Максимальный ток будет при максимальной разности напряжений питания и уровня логической единицы. Минимальное напряжение логической единицы VIH1_min=2.2 В. Максимальное напряжение питания VDD5_max=7.0 В.
Примечание: правильнее брать не VDD5_max, а максимальное напряжение той точки, к которой подключен подтягивающий резистор (+U на предыдущей схеме). В общем случае эти напряжения могут быть от разных источников.
Согласно закону Ома
Rmin=(VDD5_max-VIH1_min)/IIL_max=(7.0-2.2)/0.01=480 Ом
С учетом точности резистора 5% его минимальное номинальное значение
Rmin_nom=Rmin/(1-0.05)=480/0.95~505 Ом
Из стандартного ряда E24 ближайший больший номинал резистора 510 Ом.
Это минимальный номинал резистора, который можно включить в схему. При этом будет наибольшее энергопотребление и лучшая форма сигнала, близкая к прямоугольной.
Мощность, рассеиваемая на резисторе (здесь взяты значения, используемые при вычислении Rmin):
P=I*U=0.01 * (7.0-2.2) = 0,048 Вт
Подойдет SMD резистор типоразмера 0805, сопротивлением 510 Ом, точностью 5%, мощностью 0.125 Вт.
Сверху сопротивление подтягивающего резистора ограничено емкостью входного контакта и максимальным временем нарастания уровня сигнала (косвенно, от частоты тактовой сигнала).
К сожалению, для вычисления максимального сопротивления подтягивающего резистора недостаточно данных. Максимальную длительность времени нарастания уровня сигнала можно принять порядка 15 нс.
Rmax=15 нс/15 пФ=15 * 10^-9/15 * 10^-12=1 000 Ом.
Примечание: 15 нс для длительности нарастания сигнала довольно много. По технической документации [1] минимальная длительность всего сигнала 10 нс, зато длительность тактового сигнала не менее 30 нс.
TheMadLynx сообщил, что устанавливаются резисторы номиналом 10 кОм.
Проверил. С данным номиналом резисторов SB-Link так-же работает.
Hard - Звуковые карты для DOS
![]()
![]()
С увеличением сопротивления подтягивающего резистора передний фронт сигнала становится пологим, уровень сигнала не достигает максимума, т.е. сигнал становится неустойчивым. Повышается чувствительность к внешним помехам, длине и качеству проводников (даже к самой форме проводников), качеству пайки и многому другому.
Правильность выбора подтягивающего резистора проверяется при работе. Лучше всего осциллографом по форме сигнала, которая должна быть близка к прямоугольной форме.
Тестером проверяется напряжение на входных контактах SERIRQ#, PCGNT# при отсутствии передачи. Должно быть больше минимального уровня логической единицы - 2.2 В. Условие необходимое, но не достаточное для правильной работы.
Проверка без осциллографа и тестера сводится к выявлению отсутствия/наличия ошибок в работе.
Комплектующие
1. PLD-6, вилка штыревая 2.54 мм 2x3 прямая, 1 шт;
![]()
2. Резистор SMD 0.125 Вт 0805 1 кОм, 5%, 2 шт.
Примечание: маркировка на резисторе 102.
![]()
Доработка
Перед пайкой из разъема убрать третий контакт
![]()
![]()
![]()
![]()
![]()
![]()
Примечание: при отсутствии необходимой разводки на звуковой карте разъем и резисторы можно распаять на макетной плате, подключить макетную плату к звуковой проводами.
Результат
В утилите настройки звуковой карты стали доступны IRQ MODE S-IRQ и DMA MODE PC-PCI.
Для подключения звуковой карты к материнской плате использован кабель SB-Link [9].
![]()
![]()
Другие микросхемы серии YMF7xx
YMF744B-V [10]
49 - SERIRQ#, IO, Ptr (Tri-State TTL), Serialized IRQ;
50 - PCGNT#, I, P (PCI), PC/PCI Grant;
51 - PCREQ#, O, Ptr (Tri-State TTL), PC/PCI Request.
VIN_max=5.75 В.
VIH1_min=0.5 * 3.0 = 1.5 В.
YMF744B-R [10]
46 - SERIRQ#, IO, Ptr (Tri-State TTL), Serialized IRQ;
47 - PCGNT#, I, P (PCI), PC/PCI Grant;
48 - PCREQ#, O, Ptr (Tri-State TTL), PC/PCI Request.
VIN_max=5.75 В.
VIH1_min=0.5 * 3.0 = 1.5 В.
YMF754-V [11]
49 - SERIRQ#, IO, Ptr (Tri-State TTL), Serialized IRQ;
50 - PCGNT#, I, Ptr (Tri-State TTL), PC/PCI Grant;
51 - PCREQ#, O, Ptr (Tri-State TTL), PC/PCI Request.
VIN_max=5.75 В.
VIH1_min=0.5 * 3.0 = 1.5 В.
YMF754-R [11]
46 - SERIRQ#, IO, Ptr (Tri-State TTL), Serialized IRQ;
47 - PCGNT#, I, Ptr (Tri-State TTL), PC/PCI Grant;
48 - PCREQ#, O, Ptr (Tri-State TTL), PC/PCI Request.
VIN_max=5.75 В.
VIH1_min=0.5 * 3.0 = 1.5 В.
Пример
Hard - Звуковые карты для DOS
+U = 5 В с шины PCI без стабилизации.
R44, R47 - 10 кОм.
![]()
YMF740C-V [12]
93 - PCGNT#, I, P (PCI), PC/PCI Grant;
94 - PCREQ#, O, Ptr (Tri-State TTL), PC/PCI Request.
Supports the old type of interrupts used by ISA. IRQ is directly connected to the IRQ input pins on the
PCI-to-ISA bridge.
Ссылки
[1] ftp://ftp.alsa-project.org/pub/manuals/yamaha/ymf724.pdf
[2] Транзисторно-транзисторная логика — Википедия
[3] Высокоимпедансное состояние — Википедия
[4] D882 PDF VIEW DOWNLOAD, D882 ÐаÑаÑиÑ, даÑаÑиÑов - NEC => Renesas Technology ru.DATASHEETBANK.COM
[5] Подтягивающий резистор — Википедия
[6] Ряды номиналов радиодеталей — Википедия
[7] PLD-6 (DS1021-2x3S), Вилка штыревая 2.54мм 2x3 прямая тип1 | купить в розницу и оптом
[8] 0.125Вт 0805 1 кОм, 5%, Чип резистор (SMD) | купить в розницу и оптом
[9] Кабель SB-Link
[10] ftp://ftp.alsa-project.org/pub/manuals/yamaha/ymf744b.pdf
[11] YMF754-R Datasheet | ETC - Datasheetspdf.com
[12] YMF740C Datasheet(PDF) - List of Unclassifed Manufacturers, DS-1L
[13]
-
Скрыть объявление
Друзья, в это тяжёлое и непонятное для всех нас время мы просим вас воздержаться от любых упоминаний политики на форуме, - этим ситуации не поможешь, а только возникнут ненужные ссоры и обиды. Это касается также шуток и юмора на тему конфликта. Пусть войны будут только виртуальными, а политики решают разногласия дипломатическим путём. С уважением, администрация Old-Games.RU.
-
Скрыть объявлениеЕсли Вы видите это сообщение, значит, вы ещё не зарегистрировались на нашем форуме.
Зарегистрируйтесь, если вы хотите принять участие в обсуждениях. Перед регистрацией примите к сведению:
- Не регистрируйтесь с никами типа asdfdadhgd, 354621 и тому подобными, не несущими смысловой нагрузки (ник должен быть читаемым!): такие пользователи будут сразу заблокированы!
- Не регистрируйте больше одной учётной записи. Если у вас возникли проблемы при регистрации, то вы можете воспользоваться формой обратной связи внизу страницы.
- Регистрируйтесь с реально существующими E-mail адресами, иначе вы не сможете завершить регистрацию.
- Обязательно ознакомьтесь с правилами поведения на нашем форуме, чтобы избежать дальнейших конфликтов и непонимания.
С уважением, администрация форума Old-Games.RU
Звуковая карта на микросхеме Yamaha XG YMF7xx, доработка SB-Link
Категории:





















Комментарии
Сортировать комментарии по