1. Друзья, в это тяжёлое и непонятное для всех нас время мы просим вас воздержаться от любых упоминаний политики на форуме, - этим ситуации не поможешь, а только возникнут ненужные ссоры и обиды. Это касается также шуток и юмора на тему конфликта. Пусть войны будут только виртуальными, а политики решают разногласия дипломатическим путём. С уважением, администрация Old-Games.RU.

    Скрыть объявление
  2. Пожалуйста, внимательно прочитайте правила раздела.
  3. Если Вы видите это сообщение, значит, вы ещё не зарегистрировались на нашем форуме.

    Зарегистрируйтесь, если вы хотите принять участие в обсуждениях. Перед регистрацией примите к сведению:
    1. Не регистрируйтесь с никами типа asdfdadhgd, 354621 и тому подобными, не несущими смысловой нагрузки (ник должен быть читаемым!): такие пользователи будут сразу заблокированы!
    2. Не регистрируйте больше одной учётной записи. Если у вас возникли проблемы при регистрации, то вы можете воспользоваться формой обратной связи внизу страницы.
    3. Регистрируйтесь с реально существующими E-mail адресами, иначе вы не сможете завершить регистрацию.
    4. Обязательно ознакомьтесь с правилами поведения на нашем форуме, чтобы избежать дальнейших конфликтов и непонимания.
    С уважением, администрация форума Old-Games.RU
    Скрыть объявление

USB на PS/2 переходники

Тема в разделе "Hard & Soft", создана пользователем kurtkurt222, 18 дек 2018.

  1. TBAPb MIA

    TBAPb

    Legacy

    Регистрация:
    26 сен 2005
    Сообщения:
    2.075
    @Kristobal Hozevich Hunta,
    ну так это не переходник, а полноценный KVM. Зато должен работать даже с чисто PS/2 устройствами.
     
  2. SanTix

    SanTix

    Регистрация:
    11 дек 2008
    Сообщения:
    1.673
    Разве это не просто коммутатор? Впрочем, переходники-то, чтобы подключать PS/2 девайсы к USB ведь не редкость, поэтому может и тут имеется. Вот обратное преобразование (активные переходники) я не встречал. По крайней мере массового промышленного изготовления, кастомно может кто уже и сделал. К слову,с моим переходником мышки хоть и работают, но движения "грязнее", чем у обычных USB мышек, для игр, вероятно, это не лучший вариант.

    Сам выше написал, сам себя и опровергаю: нашёл две мышки Логитех конца 97 и 99 годов USB и PS/2 одной модели и в одном корпусе, а начинка - разная! Соответственно USB-шная не работает под ДОСом через пассивный переходник :( PS/2 - не знаю - нет сейчас такого переходника, но, вероятно тоже может не заработать ибо плата совсем иная и на ней в явном виде написано PS/2. Микрики уже на обоиз не Омрон: на поздней чёрные Kailh, как на ранних B100, на более ранней вообще какие-то неведомые бело-лиловые с логотипом в виде разомкнутого кривоватого круга в квадратике. явно на 400 DPI - на современном мониторе непривычно медленно, т.е. ценность её, как мышки невелика. PS/2 мышка под ДОСом - нормально работает :) Жаль, что так вот рано Логитех с PS/2 завязал, мне они наравятся. Но, по крайней мере эту USB можно заюзать, как сменный корпус, колёсико и кнопочки :) Микрософт и а4тех, подольше,вроде бы, продержались. Гениусом оптическим толком не пользовался их мышки ещё не проверял.
     
  3. TBAPb MIA

    TBAPb

    Legacy

    Регистрация:
    26 сен 2005
    Сообщения:
    2.075
  4. SanTix

    SanTix

    Регистрация:
    11 дек 2008
    Сообщения:
    1.673
    Чего-то я вовсе там USB не наблюдаю, как буд-то это тупо коммутатор VGA+КиМ+аудио на два компа на один комплект периферии. ЕМНИП такие и на 4 компа имеются. Старинная ерунда, вроде мониторинга/конфига двух АТС с одного рабочего места :)
     
  5. TBAPb MIA

    TBAPb

    Legacy

    Регистрация:
    26 сен 2005
    Сообщения:
    2.075
    А его и нет.
    Это только в Регарде на одном из скринов есть, а согласно табличке - нет.
    Есть заявленая совместимость с USB и PS/2 консольными кабелями у 440/450, но ценник там не для дома, конечно.

    https://dlink.ru/up/support/FAQ/DKVM/Comparison_table_KVM_01-10-2019.xlsx
     
    SanTix нравится это.
  6. Kristobal Hozevich Hunta Реликтовый гоминид

    Kristobal Hozevich Hunta

    Регистрация:
    24 апр 2006
    Сообщения:
    1.445
    Продолжим тему переходников (предложил бы расширить название темы, например, "USB, PS/2 (MiniDIN6), AT (DIN5) и прочие переходники").

    В поисках различия между зеленым и фиолетовым портами PS/2 наткнулся на такую забавную вещь.

    2.png

    Это, похоже, подойдет для плат с одним комбинированным (фиолетово-зеленым) портом, но не для всех (судя по комментарию ниже).

    И там в комментариях интересный отзыв с картинкой- ответом на мой первоначальный вопрос.

    1.png

    Судя по этой картинке, у разъемов мыши и клавиатуры линии +5V и GND общие (т.е. пины совпадают), а линии DATA и CLOCK зеркально отражены по вертикали (тут что-то не то, см. дальше про книгу М. Гука).
     
    Последнее редактирование: 31 янв 2024
  7. TheMadLynx

    TheMadLynx

    Хелпер

    Регистрация:
    9 июн 2015
    Сообщения:
    7.635
    Насколько я имел честь потыкаться в один из вариантов с Али, подойдёт оно только к некоторым ноутбукам с чёрным комбинированным портом. У настольных PS/2 отличается распиновка, поэтому с ними у меня мышь даже не загоралась - питание не туда пришло. А ещё стоит иметь ввиду, что некоторые производители материнок хитрят рисуя сиренево=зелёную маркировку на своих портах: в один момент времени у того же асуса будет работать через этот порт или мышь, или клава - но не два вместе. Поэтому такой простой разветвитель для них вообще бесполезен, даже если поправить разводку.
     
    Kristobal Hozevich Hunta нравится это.
  8. radical1010

    radical1010

    Регистрация:
    3 сен 2018
    Сообщения:
    3.908
    у меня такой где-то был еще и с блямбой посредине, предполагающей, надо думать, еще какую-то дополнительную логическую схему.
     
    Kristobal Hozevich Hunta нравится это.
  9. _ALS_

    _ALS_

    Регистрация:
    13 апр 2018
    Сообщения:
    405
    По поводу KVM-121 : на нем работают только двухстандартные мыши, никакого "переходника" с USB на PS/2 внутри нет.
    А разные самодельные адаптеры для мышей продаются здесь :
    [Почта, Ростов-на-Дону] Сводная тема всех новоделов для PC (кроме в/конвертера) - Полигон призраков
    [Почта, МО, Нахабино, Москва] USB->Serial Mouse адаптер. - Полигон призраков
     
    Kristobal Hozevich Hunta нравится это.
  10. Kristobal Hozevich Hunta Реликтовый гоминид

    Kristobal Hozevich Hunta

    Регистрация:
    24 апр 2006
    Сообщения:
    1.445
    Вообще, да, в руководстве Gigabyte на B560 хитро написано "mouse OR keyboard":

     
  11. TBAPb MIA

    TBAPb

    Legacy

    Регистрация:
    26 сен 2005
    Сообщения:
    2.075
    Потому что PS/2 клава сидит на IRQ1, а PS/2 мыш на IRQ12, а инициализация должна быть проведена во время запуска системы, когда энумерируются девайсы и соответственно настраиваются порты ввода/вывода.
    Поэтому разветвитель - бесполезен, т.к. внутри порта только минимум, а уж мышь или клавиатура - при запуске.
     
    Kristobal Hozevich Hunta нравится это.
  12. radical1010

    radical1010

    Регистрация:
    3 сен 2018
    Сообщения:
    3.908
    А такой еще вопрос, не совсем по переходникам.
    Под чистым досом при использовании USB клавы и USB мыши мышь периодически подклинивает, например, залипает ЛКМ или скролл веред. Под виндой все нормально, при использовании одной мыши без клавы или USB клавы и COM мыши все нормально. Как-нибудь можно бороться? PS/2 портов нет, через USB переходники на PS/2 девайсах то же самое.
     
  13. rusty_dragon

    rusty_dragon

    Регистрация:
    17 ноя 2007
    Сообщения:
    8.152
    Вот тут недавно обсуждали:
    Старое железо в запакованном виде
    Если коротко. На ретро ПК с ранними усб контроллерами усб устройство даже через переходник на PS/2 постоянно долбится на прерывание процессора и вызывает лаги. Решение: использовать нативные PS/2 устройства ввода, на совместимость с которыми ПК тестировался.
    Но это теория. Никто ещё не проверял.
     
  14. Kristobal Hozevich Hunta Реликтовый гоминид

    Kristobal Hozevich Hunta

    Регистрация:
    24 апр 2006
    Сообщения:
    1.445
    Что-то никак не пойму (немного картинок, но они маленькие).

    Стандартные разъемы PS/2 на мат. плате:

    0.png

    Судя по книге М. Гука, назначение пинов в обоих разъемах одинаковое (если смотреть на гнездо на материнской плате как на фото выше - только вверх ногами):

    1.png 2.png

    Судя по этим картинкам, разница между ними только программная, а электрически (и механически) они совместимы (как пишет уважаемый электрик-программист @TBAPb, устройства ввода сидят на разных прерываниях, ну, еще Гук пишет, что данные в порт мыши посылаются с префиксом, а в порт клавиатуры - нет).

    Но тогда до загрузки ПК клаву/мышь можно было бы втыкать в любой из этих разъемов, а это не так.

    :unknw:?
     
    Последнее редактирование: 31 янв 2024
  15. SanTix

    SanTix

    Регистрация:
    11 дек 2008
    Сообщения:
    1.673
    Ещё бывают совмещённые разъёмы клава-мышь. В таких работает только клава, если напрямую втыкать. Мышинные сигналы на неиспользуемых пинах. Чтобы подключить и то и другое, нужен пассивный переходник раздвоитель.

    Я так понимаю, что это на уровне БИОСа. Клава инициализируется автоматом, даже если её нет, если пропадёт контакт и пошевелить клава заработает. Мышка инициализируется драйвером, подаётся питание и она даёт ответ и если драйвер это устраивает мышка работает. Если пропадает контакт у мышки она отваливается до переинициализации драйвера. Драйвер мышки не пытается инициализироваться через порт клавы потому, что БИОС ему сообщает, что этот порт занят, а клава не может дополнительно инициализироваться через порт мышки, т.к. нет программной поддержки.
     
    rusty_dragon и Kristobal Hozevich Hunta нравится это.
  16. TheMadLynx

    TheMadLynx

    Хелпер

    Регистрация:
    9 июн 2015
    Сообщения:
    7.635
    Контроллер мыши всегда точно знает, какой порт у него мышиный, а какой - клавиатурный. Скачайте даташит на любой (с поддержкой клавиатуры и мыши, разумеется) вариант контроллера и посмотрите: мышиные линии дата/клок всегда на отдельные ножки контроллера заведены. Поэтому нельзя рассчитывать на то, что воткнутая в мышиный порт клавиатура будет опознана как клавиатура и наоборот.
     
    Kristobal Hozevich Hunta и SanTix нравится это.
  17. TBAPb MIA

    TBAPb

    Legacy

    Регистрация:
    26 сен 2005
    Сообщения:
    2.075
    Building a USB to Mac ADB keyboard adapter | Hacker News
    --- добавлено 31 янв 2024, предыдущее сообщение размещено: 31 янв 2024 ---
    Для этого есть настройка "PS/2 Keyboard present: On/Off/Auto". Зависит от реализации БИОСа.

    "8042" PS/2 Controller - OSDev Wiki
     
    Kristobal Hozevich Hunta нравится это.
  18. TheMadLynx

    TheMadLynx

    Хелпер

    Регистрация:
    9 июн 2015
    Сообщения:
    7.635
    @TBAPb, и я по прежнему настаиваю, что контроллер всегда точно знает, где у него мышиный порт, а где клавиатурный - это разные физически ножки. И я не знаю будет ли пытаться тот же БИОС искать на клавиатурном порту мышь - живые примеры мне неизвестны. Разве только из времён уже UEFI - там да, пытаются всё предугадать за пользователя.
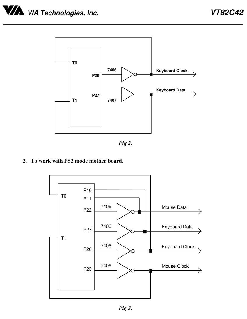
    VIA.png Holtek.png
     
    SanTix и Kristobal Hozevich Hunta нравится это.
  19. TBAPb MIA

    TBAPb

    Legacy

    Регистрация:
    26 сен 2005
    Сообщения:
    2.075
    А я и не утверждаю обратного, более того, привожу схему где явно расписано, что первый порт висит на 1 прерывании первого контроллера прерываний, а второй порт висит на 1 прерывании второго контроллера прерываний.
    А вот софтово - никаких проблем правильно идентифицировать, что воткнуто в порт, и слать/читать правильно.
     
    TheMadLynx и Kristobal Hozevich Hunta нравится это.
  20. TBAPb MIA

    TBAPb

    Legacy

    Регистрация:
    26 сен 2005
    Сообщения:
    2.075
    Можно, кстати, проверить, но мне не на чем, G77 с 1 универсальным портом.
     
  1. На этом сайте используются файлы cookie, чтобы персонализировать содержимое, хранить Ваши предпочтения и держать Вас авторизованным в системе, если Вы зарегистрировались.
    Продолжая пользоваться данным сайтом, Вы соглашаетесь на использование нами Ваших файлов cookie.
    Скрыть объявление